Hallo
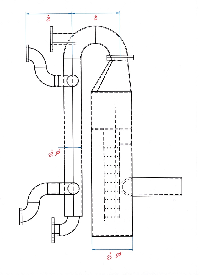
Kann mir jemand, die Mase
-->> Durchmesser vom Querrohr
-->> Durchmesser vom Auspufftopf
-->> Distanz vom Austritt Zyl.Kopf bis Mitte Querrohr
-->> Distanz von Mitte Querrohr bis Mitte Flansch zu Auspufftopf
(siehe Zeichnung)
vom Auspuffkrümmer mit dem HJS Kat-Auspufftopf vom 1600i, mitteilen.
Und weis jemand ob das Innenleben vom HJS Topf gleich ist wie das original Topf?
http://www.1600i.de/1600i.html
Danke für die Antworten.
Gruss Fernando
